張宏超,周文杰,尹君勝
(中國北方車輛研究所,北京 100072)
摘 要:輪胎中央充放氣系統對于改善輪式越野車輛在復雜路面的通過性作用明顯,行業內已經取得了共識。國內普遍使用單管路結構,文中分析了單管路結構的優缺點,之后詳細介紹了一種雙管路結構的中央充放氣系統方案,大大簡化了系統中各部件,尤其是輪胎閥的結構,使系統的整體可靠性得到提升。文中給出了具體的技術實施方案。詳細表述了實現充氣、放氣、測壓功能各閥件的動作邏輯。
關鍵詞:中央充放氣;簡化輪胎閥;輪邊總成;雙管路
1概 述
越野汽車行駛的路面比較復雜,常常需要在泥濘和松軟路面上行駛,根據車輛地面力學理論, 在地面附著系數和其他條件一定的情況下,輪胎接地面積越大, 車輛獲得的地面牽引力也就越大。因此, 通過調節輪胎氣壓,改變輪胎接地面積,就可起到改變車輛牽引力的作用。故而,車輛的通過性能隨輪胎氣壓降低程度的不同而有不同程度的增強。同時,輪胎氣壓降低,也會增加車輛行駛阻力,增大輪胎發熱量。
如何實現車輛在行駛過程中給輪胎充放氣,氣路從不動的車身上連通到旋轉的車輪上是中央充放氣技術的一大難題,目前廣泛采用的是單管路模式,此結構要實現給輪胎充氣、放氣和測壓,要么在車輪上安裝手控開關閥,猛士越野汽車采用的就是該結構;要么安裝結構復雜的專用輪胎閥。

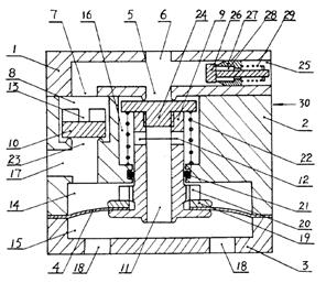
1 上蓋 2 閥體 3 下蓋 4 膜片 5 導出孔 6 連接氣門嘴孔 7 充氣導通孔 8 充氣腔室 9 三位閥桿
10 浮動單向閥 11 盲孔 12 徑向孔 13 14 上腔室 15 下腔室 16 閥桿腔 17 進氣孔 18 排氣孔 19 墊片 20 螺母 21 密封件 22 彈簧 23 導入孔 24 堵蓋 25 備用孔 26 單向閥桿
27 閥門 28 閥門通氣孔 29 彈簧
圖1 單氣路輪胎閥結構示例
采用手動開關閥方式,在需要調整輪胎壓力時,需要操作人員先下車打開開關閥,充放氣完成后還需關閉開關閥,操作比較繁瑣;采用輪胎閥方式,可以實現不下車調整輪胎壓力,但是輪胎閥結構復雜。如圖1所示,是趙玉璠教授發明的單管路中央充放氣輪胎閥,可實現給輪胎充氣、放氣和測壓,但是結構復雜,安裝在車輪上,泥水容易進入閥內部,可靠性受到制約。
本文提出了一種雙管路通過輪邊總成的結構,在車輪上安裝普通的氣控開關閥,車內配簡單的控制閥組及管路即可實現給輪胎充氣、放氣和測壓。
2 技術實現
該結構如圖2所示。在輪邊總成內實現兩條從靜止到運動的氣道。第一條從靜止到運動的氣道:氣道從靜止的轉向節1進入,即氣道Ⅰ靜止部分4,在轉向節1和輪轂2之間,左右對稱安裝兩個密封圈Ⅱ,在密封圈Ⅱ中間設氣道孔與氣道Ⅰ靜止部分4連通。在輪轂2,兩個密封圈Ⅱ之間設置氣道Ⅰ旋轉部分3,這樣,即使轉向節1與輪轂2相對旋轉,氣道Ⅰ靜止部分4與氣道Ⅰ旋轉部分3仍能相通,形成一個從靜止到運動的氣道。第二條從靜止到運動的氣道:氣道從轉向節1進入,即氣道Ⅱ靜止部分5,它直接通向空腔8,空腔8有端蓋7、轉向節1、輪轂2、密封圈Ⅰ、密封圈Ⅱ形成,在端蓋7上設立氣道Ⅱ出氣口6,氣道Ⅱ出氣口6及它所在的端蓋7隨輪轂2與轉向節1之間相對旋轉,氣道Ⅱ靜止部分5、空腔8及氣道Ⅱ出氣口6共同形成第二條從靜止到運動的氣道。兩個密封圈9和10要有一定的氣體密封功能。

1 轉向節 2 輪轂 3氣道Ⅰ旋轉部分 4氣道Ⅰ靜止部分 5氣道Ⅱ靜止部分
6氣道Ⅱ出氣口 7 端蓋 8 空腔 9 密封圈Ⅰ 10 密封圈Ⅱ
圖2 雙氣道結構圖
3 具體實施方式

1 轉向節 2 輪轂 3氣道Ⅰ旋轉部分 4氣道Ⅰ靜止部分 5氣道Ⅱ靜止部分 6氣道Ⅱ出氣口 7 端蓋 8 空腔 9 密封圈Ⅰ 10 密封圈Ⅱ 11 氣控常閉開關閥 12 常通開關電磁閥 13 常閉開關電磁閥 14 氣源 15 兩位三通電磁閥 16 壓力傳感器 17 輪胎
圖3 雙氣道中央充氣系統結構原理圖
輪胎中央充放氣系統的作用就是車輛在行進或停止過程中調整輪胎壓力,實現對輪胎充氣、放氣和測壓操作,在系統不工作時要能實現輪胎保壓。圖3是雙氣道輪邊總成結構融入輪胎中央充放氣系統實現輪胎保壓狀態的氣路原理圖。圖中12、13、15三個電磁閥均處于初始狀態(不加電狀態),氣控常閉開關閥11處于常閉狀態,輪胎保壓。

圖4 充氣狀態圖
圖4是雙氣道輪邊總成結構融入輪胎中央充放氣系統實現輪胎充氣狀態的氣路原理圖。兩位三通電磁閥15通電,高壓氣體從氣源14通向氣道Ⅱ靜止部分5,再通向氣道Ⅱ出氣口6,高壓氣體推動氣控常閉開關閥11,使其從常閉狀態轉向導通狀態。同時常通開關電磁閥12通電,該電磁閥從常通狀態轉變為如圖3所示的關閉狀態。同時常閉開關電磁閥13通電,該電磁閥從常閉狀態轉變為如圖3所示的導通狀態。高壓氣體從氣源14通向氣道Ⅰ靜止部分4,再通向氣道Ⅰ旋轉部分3,繼而經過控常閉開關閥11通向輪胎。實現給輪胎充氣。

圖5 放氣狀態圖
圖5是雙氣道輪邊總成結構融入輪胎中央充放氣系統實現輪胎放氣狀態的氣路原理圖。兩位三通電磁閥15通電,高壓氣體從氣源14通向氣道Ⅱ靜止部分5,再通向氣道Ⅱ出氣口6,高壓氣體推動氣控常閉開關閥11,使其從常閉狀態轉向導通狀態。輪胎內的氣體經氣控常閉開關閥11通向氣道Ⅰ旋轉部分3,再通向氣道Ⅰ靜止部分4,經常閉開關電磁閥13排出。常通開關電磁閥12和常閉開關電磁閥13均不通電,處于原始狀態位置。從而實現給輪胎放氣。

圖6 測壓狀態圖
圖6是雙氣道輪邊總成結構融入輪胎中央充放氣系統實現輪胎測壓狀態的氣路原理圖。兩位三通電磁閥15通電,高壓氣體從氣源14通向氣道Ⅱ靜止部分5,再通向氣道Ⅱ出氣口6,高壓氣體推動氣控常閉開關閥11,使其從常閉狀態轉向導通狀態。輪胎內的氣體經氣控常閉開關閥11通向氣道Ⅰ旋轉部分3,再通向氣道Ⅰ靜止部分4,與壓力傳感器16導通,同時常通開關電磁閥12通電,從常通狀態轉換為關閉狀態,密封氣體。常閉開關電磁閥13不通電,處于原始狀態位置封閉氣體。實現測量輪胎壓力。
輪胎中央充放氣系統的充氣、放氣、測壓和保壓四種工況可以通過控制三個電磁閥實現任何工況的轉換和保持。
4 工程實施中的問題及解決方法
輪邊總成如果有傳動減速機構,則氣道Ⅱ通過的空腔7就會有潤滑油,油和氣混合不會對傳動機構的潤滑造成影響,但是潤滑油會進入圖中的氣控常閉開關閥,要注意該氣道僅能用來推動開關閥的活門,實現力的傳遞,不能有流動現象,更不能消耗、流失潤滑油。潤滑油也會進入氣道Ⅱ靜止部分,在工程實施過程中,可以通過管路的高低設置或增加毛細管阻尼器避免潤滑油流失。
在中央充氣工作過程中,氣道Ⅱ通過的空腔7就會有0.2MPa左右的氣壓,該空腔內油和氣混合,相關的油封要在該壓力條件下保證密封可靠。
參考文獻
[1] 趙玉璠. 壓力流體方向控制閥及其在輪胎氣壓調節裝置中應用[P]. 中國專利:ZL 1084944A,1994-4